2783707458 单先生
Products Introduction Location:Home > News
小夜灯设计及与光敏电阻工作相关知识
    光控小夜灯夜晚自动开灯,天亮后自动关灯,其亮度可调的电路结构简单,实用性强。主要工作靠光敏电阻电子元器件的原理来控制,其利用半导体的光电效应制成的一种电阻值随入射光的强弱而改变的电阻器;入射光强,电阻减小,入射光弱,电阻增大。
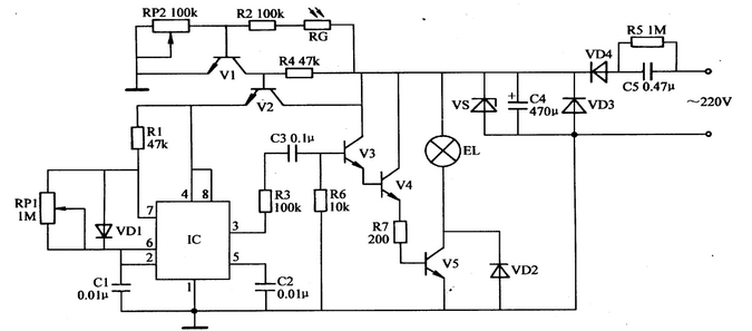
    该光控小夜灯电路由自激多谐振荡器、光控开关电路、输出电路和电源电路组成,如图所示。

    自激多谐振荡器由时基集成电路IC、电阻器R1、电容器C1、C2、二极管VD1和电位器RPl组成。

    光控开关由光敏电阻RG、电位器RP2、电阻器R2、R4和晶体管V1、V2组成。

    输出由晶体管V3-V5、电阻器R3、R6、R7、电容器C3、二极管VD2和照明灯EL组成。

    电源由降压电容器C5、整流二极管VD3、VD4、稳压二极管VS和滤波电容器C4组成。

    交流220V电压经C5降压、VD3和VD4整流、VS稳压及C4滤波后,产生l2V直流电压,供给自激多谐振荡器、光控开关和输出。
    
    工作说明
    自激多谐振荡器振荡工作后,从IC的3脚输出振荡脉冲信号,该信号经V3-V5放大后,驱动EL发光。调整RPl的阻值,可改变自激多谐振荡器的工作频率,控制输出脉冲占空比的大小,从而调节EL的亮度。    
    在白天或夜晚室内有灯的情况下,光敏电阻器RG受光照射而阻值变小,使Vl饱和导通,V2截止,lC失去工作电源而停止工作,EL不发光。在夜晚,室内的照明灯关闭后,RG的阻值增大,使Vl截止,V2导通,自激多谐振荡器和输出电路正常工作,EL点亮。   调节RP2的阻值,可改变光控开关的灵敏度。   

    电子元器件选择及说明
  • Rl-R4、R6均选用1/4W碳膜电阻器或金属膜电阻器
  • R5选用1/2W金属膜电阻器。    
  • RPl选用线性合成膜电位器或有机实心电位器
  • R叨选用实心可变电阻器。   
  • RG选用GM45型光敏电阻。    
  • Cl-C3均选用独石电容器
  • C4选用耐压值为25V的铝电解电容器。    
  • VDl选用1N4148型硅开关二极管
  • VD2-VD4选用lN400l或1N4007型硅整流二极管。    
  • VS选用lW、l2V的硅稳压二极管。    
  • Vl-V4均选用S9014或3DGl2型硅NPN晶体管
  • V5选用2SD880型硅NPN晶体管。
  • IC选用NE555型时基集成电路。
  • EL选用6.3V、O.lA的小灯泡。
Back